Повреждение изоляции
Основной причиной нарушения целостности главной изоляции является ее чрезмерное увлажнение под воздействием повышенной влажности. Также возможно механическое разрушение при наличии в ее структуре мелких изъянов. Многие сухие трансформаторы с литой изоляцией мощностью более 220 кВ часто сталкиваются с проблемой «ползущего разряда». Данное явление заключается в разрушении изолирующего слоя локальными разрядами, которые возникают и распространяются под воздействием высокого рабочего напряжения. Витковая изоляция получает повреждения в ходе коротких замыканий или протечек масляных каналов.
Косвенные методы
Каждый из перечисленных ниже способов проверки может предоставить лишь частичную информации о состоянии трансформаторов. Поэтому эти способы необходимо применять в комплексе.
Определение правильности маркировки выводов обмоток
Целостность обмоток ТТ и их выводов следует определять замером их активных сопротивлений с проверкой или последующим нанесением маркировки.
Определение начала и конца каждой из обмоток следует проводить способом, позволяющим установить полярность.
Проверка полярности выводов обмоток.
Для проведения испытаний к вторичной обмотке присоединить амперметр или вольтметр магнитоэлектрического типа с определенной полярностью на его выводах.
Определение полярности выводов обмоток Трансформатора тока.
Рекомендуется использовать прибор с нулем посередине шкалы, однако, допускается использовать и с нулем, расположенным в начале шкалы.
Все остальные вторичные обмотки трансформатора необходимо, из соображений безопасности, зашунтировать.
К первичной обмотке ТТ необходимо подключить источник постоянного тока, затем последовательно подключить к нему сопротивление для ограничения тока разряда. Достаточно использовать обыкновенный элемент питания (батарейку) с лампочкой накаливания. Вместо выключателя можно просто коснуться проводом от лампочки клеммы первичной обмотки ТТ и затем отвести его.
При совпадении полярности стрелка сдвинется вправо и возвратится назад. Если прибор подключен с обратной полярностью, то стрелка будет сдвигаться влево.
При отключении питания у однополярных обмоток стрелка сдвигается толчком влево, а в противном случае – толчком вправо.
Таким же образом следует проверить полярность подключения других обмоток трансформатора.
Снятие характеристики намагничивания.
Зависимость напряжения на клеммах вторичных обмоток от протекающего по ним тока намагничивания называется вольт-амперной характеристикой, сокращенно ВАХ. Она свидетельствует о правильности работы обмотки и магнитопровода, позволяет оценить их исправность.
Для того, чтобы исключить влияние помех со стороны расположенного рядом силового оборудования, характеристику ВАХ следует снимать, предварительно разомкнув цепь первичной обмотки.
Для построения характеристики ВАХ необходимо пропускать переменный ток различных величин через обмотку ТТ и измерять напряжение на входе обмотки. Такие испытания можно проводить любым лабораторным стендом с блоком питания, имеющим выходную мощность, позволяющую нагружать обмотку до насыщения магнитопровода трансформатора, при котором кривая насыщения обратится в горизонтальное положение.
Полученные по замерам данные нужно занести в таблицу протокола. По табличным данным строятся графики ВАХ.
Перед началом проведения замеров и после их окончания следует в обязательном порядке производить размагничивание магнитопровода методом нескольких постепенных увеличений тока в обмотке и последующим снижением тока до нуля.
Важно
Для измерения значений токов и напряжений следует использовать приборы электромагнитной или электродинамической систем, которые могут воспринимать действующие значения тока и напряжения.
Наличие в обмотке короткозамкнутых витков уменьшает величину выходного напряжения в обмотке и снижает крутизну ВАХ. В связи с этим, при первом использовании исправного ТТ необходимо сделать замеры и построить график ВАХ, а при последующих проверках ТТ через определенное нормативами время следует контролируют состояние выходных параметров.
Дополнительная информация
Прежде чем покупать трансформатор напряжение, нужно проанализировать все требования, выдвигаемые к устройству. Необходимо учитывать не только рабочие напряжения, но и токи нагрузки при использовании трансформатора в различных приборах.
Трансформаторы напряжения можно изготовить самому, но если вам нужен простой бытовой трансформатор с напряжением на 220 вольт и понижением до 12 вольт, то лучше его приобрести. Сколько стоят трансформаторы напряжения можно узнать на любом интернет-сайте, как правило, на бытовые понижающие трансформаторы напряжения цены не очень высоки.
С н/п Владимир Васильев
P.S. Друзья, обязательно подписывайтесь на обновления! Подписавшись вы будете получать новые материалы себе прямо на почту! И кстати каждый подписавшийся получит полезный подарок!
Принцип работы
Работа СТ осуществляется на законах электротехники. СТ ничем не отличаются от обыкновенного трансформатора. Проходящий в первичной обмотке ток изменяется во временном диапазоне гармониками. Он создаёт в магнитопроводах мощный поток магнитных полей. Индукция проникает сквозь витки вторичной обмотки, создаётся электродвижущая сила.
Принцип работы трансформатора
Съём нагрузок происходит с проходных изоляторов вторичной обмотки на крыше трансформатора. Параметры тока вторичной обмотки держат не выше расчётной величины. В таком состоянии силовые установки работают месяцами, продолжительное время. Преобразуется 1 потенциал амплитуды низкого потенциала (6 – 10 кВ) электричества в высокий класс амплитуды (35, 110, 220, 500, 1100 кВ).
В рабочем режиме СТ подключён шинами РУ, линией электропередачи на нагрузку потребителей энергии. Без отбора мощности происходит повышение частоты электрического тока. СТ работающие в группе разгружены, близки к режимам работы на холостом ходу. При отборе мощности потребителями уменьшается частота электрического тока, трансформатор грузится на 100 – 140% мощность. При стабилизации частоты 50 + (0,5-1%) силовые установки переводятся на стабильный номинальный режим работы. В период испытаний он кратковременно включается на режимы коротких замыканий. Проверяются 99,99% электрических характеристик агрегата, проводится наладка режимов его работы.
Также читайте: Однофазный сухой трансформатор — ОСМ
Режим короткого замыкания
Трансформаторы бывают повышающие и понижающие, что бы это определить нужно узнать коэффициент трансформации, с его помощью можно узнать какой трансформатор. Если коэффициент меньше 1 то трансформатор повышающий(также это можно определить по значениям если во вторичной обмотке больше чем в первичной то такой повышающий) и наоборот если К>1, то понижающий(если в первичной обмотке меньше витков чем во вторичной).
Формула по вычислению коэффициента трансформации
где:
- U1 и U2 – ВН и НН напряжения,
 - N1 и N2 – количество витков в первичной и вторичной обмотке,
 - I1 и I2 – ток в первичной и вторичной обмотки.
 
Принцип работы
Напряжение с трёхфазной электростанции поступает на линейный разъединитель. После этого оно попадается на отделитель 110кВ. Он является таким же линейным разъединителем, только выполняющий расширенные функции, а именно приём более большого напряжения. Затем напряжение передается силовому трансформатору со встречной обмоткой.
Обычно на участках электростанций устанавливаются железные помещения, в которых размещаются масляные выключатели. Именно туда напряжение попадает в последнюю очередь. После попадания в ячейки ввода, оно распределяется по фидерам (столбы с проводами). Они находятся рядом с электростанцией. В дальнейшем, электричество по проводам передаётся потребителям.
Также в систему электростанции входит короткозамыкатель 110 кВ, который защищает силовой трансформатор от перенапряжения и неисправностей. Если же в квартире при коротком замыкании вырубается щиток, то на электростанции при перенапряжении короткозамыкатель порождает ток короткого замыкания, вследствие действия которого трансформатор перестаёт работать. Также короткозамыкатель блокирует возгорание трансформатора путём отделения его от отделителя, к которому постоянно поступает напряжение от линий с электроэнергией.

Радиантная энергия в трансформаторе
Кроме описанных в книге явлений
феррорезонанса, несомненно, существуют и иные явления, не упоминаемые в ней.
Наша задача их выявлять.
или её:
В ролике я не смогу передать субъективное
ощущение в руке от подёргивания магнита, находящегося рядом с настроенным
работающим трансформатором, но вот показать присутствие радианта рядом с
трансформатором с помощью объективного датчика можно. Датчиком является магнит
Сидоровича, от имени того, кто впервые его изготовил и применил.
Смотрим видеофрагмент №3:
Уверен, что профессорам от физики
придётся сильно напрячься, чтобы объяснить явление вращения этого датчика,
учитывая, что по теории весь магнитный поток должен находиться внутри
сердечника трансформатора.
Сам трансформатор при этом
излучает сильные продольные волны, который можно зарегистрировать приёмником
скалярных волн.
Смотрим видеофрагмент №4:
На этом предварительное знакомство
с феррорезонансом закончим
Впереди ожидают другие интересные исследования, Но,
прежде чем закончить съёмку этого ролика, я хочу коснуться ещё одного важного
момента
Требования к антирезонансным трансформаторам
Антирезонансные типы трансформаторов стоят гораздо дороже обычных. Их использование должно быть обусловлено серьезной необходимостью. Если есть возможность использования обычных трансформаторов, то антирезонансные лучше не применять. Требования к работе таких устройств следующие:
- Трансформатор должен защитить общую сеть от возникновения нагрузки в следствии потери нейтрали.
 - При воздействии феррорезонанса отключить вторичную обмотку.
 - Исключить появления дугового короткого замыкания.
 - Исключить возникновения межфазного замыкания в агрегатах 1 и 2.
 
Так же наличие масла в общей емкости должно воспрепятствовать увеличению температуры на обмотках катушки. Сама катушка должна иметь плотную изоляцию, устойчивую к перегреву.
Феррорезонансные явления в электрических сетях

 Основные факторы, которые порождают феррорезонансные явления в электрических сетях – это элементы ёмкостного и индуктивного типа. Они способны формировать колебательные контуры в периоды переключения. Этот эффект особо заметен в трансформаторах силового типа, линейного вольтодобавочного, шунтирующих контурах и в аналогичных устройствах, которые оборудуются массивной обмоткой. Данное явление бывает 2 типов: резонанс токов и напряжения.
Феррорезонанс напряжений возможен, когда в сети имеется индуктивность, характеризующаяся нелинейным вольт-амперным свойством. Данная характеристика свойственна катушкам индуктивности, где сердечники производятся из ферромагнитных компонентов. Особенно это касается выпрямителей линейки НКФ. Такое негативное явление обуславливается небольшим показателем сопротивлений омического и индуктивного типов по отношению к силовым трансформаторам.
Виды трансформаторов напряжения
Рассмотрим несколько трансфомраторов напряжения разных производителей:
Трансформатор напряжения ЗНОЛ-НТЗ-35-IV-11
Производиель — Невский трансформаторный завод «Волхов».
Назначение и область применение ЗНОЛ-НТЗ
Трансформаторы предназначены для наружной установки в открытых распределительных устройствах (ОРУ). Трансформаторы обеспечивают передачу сигнала измерительной информации измерительным приборам и устройствам защиты и управления, предназначены для использования в цепях коммерческого учета электроэнергии в электрических установках переменного тока на класс напряжения 35 кВ. Трансформаторы выполнены в виде опорной конструкции.
Рисунок — Габаритные размеры трансформатора
Рисунок — схемы подключения обмоток трансформаторов
Характеристики:
- Класс напряжения по ГОСТ 1516.3, кВ — 27 35 27
 - Наибольшее рабочее напряжение, кВ — 30 40,5 40,5
 - Номинальное напряжение первичной обмотки, кВ — 15,6 20,2 27,5
 - Номинальное напряжение основной вторичной обмотки, В — 57,7 100
 - Номинальное напряжение дополнительной вторичной обмотки, В — 100/3, 100 127
 - Номинальные классы точности основной вторичной обмотки — 0,2; 0,5; 1; 3
 
Ещё одно интересное видео о работе трансформаторов тока:
Трехфазная антирезонансная группа трансформаторов напряжения 3хЗНОЛПМ(И)
Производитель «Свердловский завод трансформаторов тока»
Назначение 3хЗНОЛПМ(И)
Трансформаторы предназначены для установки в комплектные устройства (КРУ), токопроводы и служат для питания цепей измерения, защиты, автоматики, сигнализации и управления в электрических установках переменного тока частоты 50 или 60 Гц в сетях с изолированной нейтралью.
Рабочее положение — любое.
Расположение первичного вывода возможно как с лицевой так и с тыльной стороны трансформатора.
Трехфазная группа может комплектоваться в 4-ех вариантах:
- из трех трансформаторов ЗНОЛПМ — 3хЗНОЛПМ-6 и 3хЗНОЛПМ-10;
 - из трех трансформаторов ЗНОЛПМИ — 3хЗНОЛПМИ-6 и 3хЗНОЛПМИ-10;
 - из одного трансформатора ЗНОЛПМ (устанавливается по середине) и двух трансформаторов ЗНОЛПМИ (устанавливаются по краям) — 3хЗНОЛПМ(1)-6 и 3хЗНОЛПМ(1)-10;
 - из двух трансформаторов ЗНОЛПМ (устанавливаются по краям) и одного трансформатора ЗНОЛПМИ (устанавливается по середине) — 3хЗНОЛПМ(2)-6 и 3хЗНОЛПМ(2)-10.
 
Для повышения устойчивости к феррорезонансу и воздействию перемежающейся дуги в дополниетльные обмотки, соединенные в разомкнутый треугольник, используемые для контроля изоляции сети, рекомендуется включать резистор сопротивлением 25 Ом, рассчитанный на длительное протекание тока 4А.
Гарантийный срок эксплуатации — 5 (пять) лет со дня ввода трансформатора в эксплуатацию, но не более 5,5 лет с момента отгрузки с завода-изготовителя.
Срок службы — 30 лет.
НАМИТ-10-2
Производитель ОАО «Самарский Трансформатор»
Назначение и область применения
Трансформатор напряжения НАМИТ-10-2 УХЛ2 трехфазный масляный антирезонансный является масштабным преобразователем и предназначен для выработки сигнала измерительной информации для измерительных приборов в цепях учёта, защиты и сигнализации в сетях 6 и 10 кВ переменного тока промышленной частоты с изолированной нейтралью или заземлённой через дугогасящий реактор. Трансформатор устанавливается в шкафах КРУ(Н) и в закрытых РУ промышленных предприятий
Технические параметры трансформатора напряжения НАМИТ-10-2
- Номинальное напряжение первичной обмотки, кВ — 6 или 10
 - Наибольшее рабочее напряжение, кВ — 7,2 или 12
 - Номинальное напряжение основной вторичной обмотки (между фазами), В — 100 (110)
 - Ннапряжение дополнительной вторичной обмотки (аД — хД), не более, В — 3
 - Класс точности основной вторичной обмотки — 0,2/0,5
 
Рисунок — Габаритные размеры и схема подключения
{SOURCE}
Феррорезонансные стабилизаторы

 Феррезонансный стабилизатор Феррорезонансные выпрямители не оборудуются встроенным вольтметром, вследствие чего сложно замерять выходной показатель напряжения сети. Отрегулировать величину напряжения собственноручно не получится. Стабилизаторы феррорезонансного типа частично искажают реальные показания, величина погрешности составляет до 12%.
Тем, кто долго пользуется такими устройствами, необходимо помнить, что они способны излучать магнитное поле, которое может нарушить правильное функционирование бытовой электротехники. Стабилизаторы такого класса настраиваются в заводских условиях, никаких дополнительных настроек в быту они не требуют.
Феррорезонанс в трансформаторе напряжения: принцип работы стабилизатора напряжения
Феррорезонансный стабилизатор напряжения уже давно активно применяется не только в быту, но и в промышленности. Устройства этого класса позволяют выровнять напряжение переменного типа. В основе принципа функционирования заключается эффект электромагнитного резонанса в колебательном контуре. Такие нормализаторы обладают массой достоинств, но также имеют и свои недостатки.
Феррорезонансные явления в электрических сетях
Основные факторы, которые порождают феррорезонансные явления в электрических сетях – это элементы ёмкостного и индуктивного типа. Они способны формировать колебательные контуры в периоды переключения. Этот эффект особо заметен в трансформаторах силового типа, линейного вольтодобавочного, шунтирующих контурах и в аналогичных устройствах, которые оборудуются массивной обмоткой.
Данное явление бывает 2 типов: резонанс токов и напряжения.
Феррорезонанс напряжений возможен, когда в сети имеется индуктивность, характеризующаяся нелинейным вольт-амперным свойством. Данная характеристика свойственна катушкам индуктивности, где сердечники производятся из ферромагнитных компонентов. Особенно это касается выпрямителей линейки НКФ. Такое негативное явление обуславливается небольшим показателем сопротивлений омического и индуктивного типов по отношению к силовым трансформаторам.
Феррорезонанс в трансформаторе напряжения
Когда трансформатор напряжения подключается к сети, в ней формируются последовательно совмещённые LC-цепи, являющие собой контур резонансного типа. При последовательном подключении индуктивного элемента с нелинейным вольт-амперным свойством к элементу ёмкостного типа напряжение в этой зоне цепи характеризуется как активно-индуктивное.
По окончании определённого временного периода значение напряжения на индуктивном элементе становится пиковым, магнитопровод питается, а напряжение на компоненте ёмкостного типа продолжает расти. Феррорезонанс в трансформаторе напряжения наступает, когда напряжение индуктивности и ёмкостного элемента становится равнозначным.
Быстрый переход приложенного напряжения из активно-индуктивного типа в активно-ёмкостной именуется как “опрокидывание фазы”. Такой эффект опасен для электроприборов.
Феррорезонансные стабилизаторы
Феррезонансный стабилизатор
Феррорезонансные выпрямители не оборудуются встроенным вольтметром, вследствие чего сложно замерять выходной показатель напряжения сети. Отрегулировать величину напряжения собственноручно не получится. Стабилизаторы феррорезонансного типа частично искажают реальные показания, величина погрешности составляет до 12%.
Тем, кто долго пользуется такими устройствами, необходимо помнить, что они способны излучать магнитное поле, которое может нарушить правильное функционирование бытовой электротехники. Стабилизаторы такого класса настраиваются в заводских условиях, никаких дополнительных настроек в быту они не требуют.
Влияние стабилизатора на технику
Феррорезонансный стабилизатор напряжения, принцип работы которого непрост, воздействует на бытовую технику следующим образом:
- Радиоприёмник – чувствительность приёма сигнала может быть уменьшена, показатель выходной мощности существенно снижается.
 - Музыкальный центр – выходная мощность такой техники может существенно снизиться, стирание и запись новых дисков значительно ухудшаются.
 - Телевизор – при подсоединении к стабилизатору можно наблюдать значительное снижение качества картинки на ТВ, отдельные цвета передаются неправильно.
 
Электрическая схема современных нормализаторов феррорезонансного типа улучшена, что позволяет им выдерживать большие нагрузки. Такие устройства могут гарантировать точную регулировку сетевого напряжения. Процедура корректировки выполняется трансформатором.
Режимы эксплуатации
Эксплуатационные режимы стабилизаторов зависят от ряда факторов. Прямое влияние имеет показатель мощности и класс устройства. Мощностные характеристики прибора могут быть разными, выбирать их надо с учётом типа подсоединяемой электротехники.
Режимы функционирования выпрямителя зависят от таких типов нагрузки:
- индуктивная;
 - активная;
 - ёмкостная.
 
Активная нагрузка в чистой форме наблюдается крайне редко. Она необходима только в тех цепях, где переменное значение устройства не имеет ограничений. Нагрузки ёмкостного типа могут применяться только для тех выпрямителей, которые обладают невысокой мощностью.
Зачем заземлять
Заземление нейтрали трансформатора необходимо для создания стабильной работы электроустановки и безопасности людей, которые могут находиться на подстанции.
Рабочее заземление на трансформаторе является частью защитного. Это значит, что заземление, предназначенное для стабильной работы устройства, также защищает от поражения током.
Правила устройства электроустановок требуют, чтобы все силовые трансформаторы были заземлены.
![]()
В трансформаторах напряжения заземляется только трансформатор. Согласно правилам устройства электроустановок у трансформатора напряжения заземление вторичной обмотки происходит путем соединения общей точки или одного из концов обмотки с заземляющим проводником.
Феррорезонансные явления в электрических сетях
 Основные факторы, которые порождают феррорезонансные явления в электрических сетях – это элементы ёмкостного и индуктивного типа. Они способны формировать колебательные контуры в периоды переключения. Этот эффект особо заметен в трансформаторах силового типа, линейного вольтодобавочного, шунтирующих контурах и в аналогичных устройствах, которые оборудуются массивной обмоткой. Данное явление бывает 2 типов: резонанс токов и напряжения.
Феррорезонанс напряжений возможен, когда в сети имеется индуктивность, характеризующаяся нелинейным вольт-амперным свойством. Данная характеристика свойственна катушкам индуктивности, где сердечники производятся из ферромагнитных компонентов. Особенно это касается выпрямителей линейки НКФ. Такое негативное явление обуславливается небольшим показателем сопротивлений омического и индуктивного типов по отношению к силовым трансформаторам.
Устройство и принцип действия
Конструктивно ТН особо не отличается от других типов преобразующих устройств. Его устройство:
- магнитный сердечник, шихтованный из пластин электротехнической стали;
 - первичная катушка;
 - одна или две вторичные обмотки;
 - защитный кожух (для конструкций уличного типа).
 
Внешний вид и схематическое изображение изделия смотрите на рис.1. На картинке изображено устройство с одной (основной) вторичной обмоткой. На некоторых моделях есть дополнительная вторичная обмотка, которая может использоваться, например, для подключения приборов измерения.
Рис. 1. Трансформатор напряжения. Строение
Обратите внимание на то, что между выводами первичных обмоток и вторичными катушками отсутствует гальваническая связь. Это главное отличие измерительных трансформаторов от конструкции обычного понижающего трансформатора
Защитные кожухи изготовляются из разных материалов. В моделях, используемых для обслуживания высоковольтных ЛЭП, применяют диэлектрики, изготовленные из фарфора (рис. 2),
Рис. 2. ТН на 110 кВ
Для охлаждения обмоток таких высоковольтных агрегатов применяют специальные трансформаторные масла.
В сетях средней мощности применяют модели с корпусами на основе эпоксидных смол (рис. 3).
Рис. 3. ТН наружного типа
Трехфазные ТН с нулевыми выводами выполняются на магнитопроводе с пятью стержнями. Такая конструкция защищает обмотки от перегрева, так как при однофазных замыканиях в цепях высоковольтных проводов цепь линий суммарного магнитного потока в самом трансформаторе замыкается по стали сердечника.
Принцип действия также мало отличается от работы силового понижающего трансформатора. Магнитный поток, возникающий в первичной катушке, распространяется по магнитопроводу, вызывая напряжение ЭДС во вторичной обмотке. Величина напряжения зависит от соотношения числа витков в катушках. Поскольку вторичные обмотки состоят из малого количества витков, то и выходное напряжение небольшое (обычно оно не превышает 100 В).
Принцип работы ТН объясняет схема на рисунке 4.
Рис. 4. Принцип работы трансформатора напряжения
Важной задачей при изготовлении трансформаторов данного типа является выполнение требований по достижению необходимых амплитудных и угловых параметров синусоиды, определяющих соответствующий класс точности: 0,5; 1; 3. В эталонных образцах применяется класс точности 0,2
Для измерительных приборов важно чтобы класс точности был максимально высоким. Чем он выше, тем меньшая погрешность измерения прибора.
Точность параметров преобразованных переменных токов зависит от нагрузки. Чем выше нагрузка вторичной цепи, тем больше погрешность трансформатора напряжения (снижается класс точности). Оптимальные параметры напряжения на выходе трансформатора достигаются при номинальных нагрузках. В этом режиме эффективность преобразования тока возрастает по мере приближения к номинальному коэффициенту трансформации.
Работа ТН эффективна при малых номинальных мощностях во вторичных цепях. Для этих устройств длительное состояние в режиме холостого хода является нормой. Поэтому они эффективно используются в системах защиты линий, которые большую часть времени находятся в режиме ожидания и потребляют мало тока.
Виды трансформаторов и принцип работы
Принцип работы конструктивного устройства, показатели мощности и требуемые нюансы различаются в зависимости от того, на скольких кВ работает оборудование. Требования обязательны к соблюдению, даже мельчайшие погрешности приводят к изменению феррорезонансной устойчивости.
Работающие при 110-ти киловольтах
Возникающие при функционировании сетей 110 кВ феррорезонансные явления обуславливаются начлиием разземления для уменьшения токов. Присутствуют резонансные колебания, связанные с:
- гармоникой и субгармоникой — появляется между конденсатами с определенными показателями емкости и индуктивностью трансформаторов;
 - субгармоника при режимах неполных фаз — появляется в результате попадания через между фазные линии, когда напряжение подается на отключенную фазу;
 - гармоника при неполной фазу — присутствует, когда работает тс с разземлением и взаимодействует с индуктивностью нелинейным образом.
 
При нулевом канале резонансные явления не возникают, но если определенный участок изменяет нейтраль, то это состояние возможно. Разземление приводит к тому, что повреждаются конструктивные детали. Сопротивление первичной обмотки создает резонанс на частоте 16 Герц, как последствие энергетический поток переводится через междуфазные проводники.
Антирезонансные трансформаторы напряжения, рассчитанные на 220, 330 и 500 киловольт
Для оборудования, которое работает на 220, 330 и 500 киловольтах существенную проблему представляют феррорезонансы с конденсаторами, которые отвечают за высоковольтные смены. Емкость значительная, при этом напряжение попадает при отключении цепи на трансформатор (разделяется между шинами и конденсаторами). Принцип работы состоит в том, чтоб обеспечить:
- линеаризацию магнитного провода;
 - увеличение технических характеристик магнитопровода;
 - увеличение показателя сцепления;
 - снижение характеристик индуктивности;
 - снижение потерь в первичной обмотке.
 
Выбор конкретных методик и принципа работы для такого трансформатора определяется типологией оборудования. Иногда оптимальным вариантом будет выбрать снижение субгармоники резонанса и вместе с этим уменьшить некоторые параметры производительности устройства.
Трансформаторы типа: НАМИ-10, НАМИ-10-95, НАМИ-10-95 УХЛ2
НАМИ-10 представляет собой первый трансформатор, используемый для снижения показателя резонанса. Расшифровка НАМИ буквально означает то, что трансформатор относится к типу работающий с напряжением (Н), антирезонансный (А), масляный, но в конкретном случае возникает циркуляция природным способом масла и воздушных потоков (М), изоляционно-контрольный (И). ТС такого типа является конструкцией из двух трехобмоточных тс.
НАМИ-10-95 является устройством, работающим в электрических сетях с частотой от 50 Герц. Трехфазный, предназначается для работы с измерительными системами, автоматическими устройствами, сигнализациями. Напряжение первичной обмотки составляет 10 или 6 кВ, вторичной — 0,1. Заземление собрано из конструкционной стали. Он масляный, обмотки с магнитопроводами помещены в сосуд.
НАМИ-10-95 УХЛ2 кроме основного предназначения (передача сигнала к оборудованию управления, измерения или защиты, могут использоваться для изоляции от максимальных показателей напряжения цепей электрических приборов на производстве. Всего установлено две вторичных обмотки, напряжение номинальное каждой из них не превышает 100 В.
Опыт с параллельным резонансным контуром
Я решил самостоятельно отснять вольт-амперную
характеристику (ВАХ) установки, схема которой представлена ниже, в которой
присутствует параллельный колебательный контур, чтобы показать, как
выглядит изменение тока в трёх точках в функции изменения напряжения.
Для этого опыта была собрана
установка, состоящая из трансформатора, лабораторного автотрансформатора (латра)
РНО-250-5 и нескольких масляных конденсаторов, общей ёмкостью более 400 мкФ.
Далее была снята ВАХ собранной по
схеме установки, которая представлена на рисунке ниже. Нет никакого смысла
приводить здесь точные значения величин тока и напряжения, так как каждый
желающий самостоятельно изучить эти явления, будет исходить из своих условий, из
своего оборудования и имеющихся у каждого в наличии материалов. По этой причине
полученные им данные всегда будут отличаться от подобных данных, полученных
любым другим исследователем.
Смысл этой иллюстрации заключается
в том, чтобы увидеть качественную сторону явления феррорезонанса токов, если
хотите закономерность, или общий принцип, хотя пропорции кривых я
всё же постарался сохранить.
На рисунке  представлены три
графика, показывающие изменение тока в трёх точках, отмеченных на схеме. Экстремумы
двух кривых отмечены красными точками. На этом рисунке кривая формы тока в
колебательном контуре не поместилась на рисунке из большой величины тока, которая
в опыте превысила значение 25 Ампер. Сама форма кривых указывает, что в данном опыте
мы имеем дело с феррорезонансом токов.
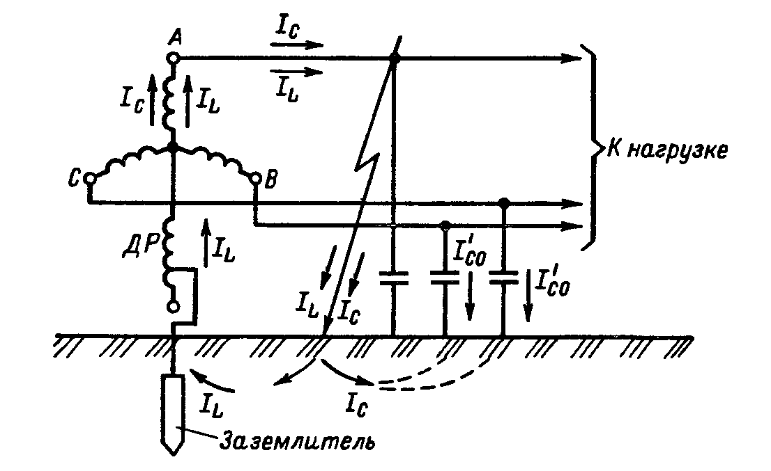
Изолированная нейтраль
Это некогда еще самый распространенный способ заземления нейтрали, применяемый в сетях 6-35 кВ. Сейчас он понемногу вытесняется другими способами.
Ток замыкания носит емкостной характер. Он обусловлен наличием емкостной связи между электрооборудованием, кабельными и воздушными линиями и землей. Активная составляющая тока почти отсутствует, так как резистивной связи между нейтралью и землей нет. Но недостатки таких сетей пересиливают ее достоинство.
При достаточной разветвленности сети емкостные токи увеличиваются, так как увеличивается количество одновременно подключенного к ней электрооборудования. Настает момент, когда ток становится настолько ощутимым, что все равно и почти сразу приводит к перерастанию ОЗЗ в междуфазное.


























